Conduttori di cortocircuito su staccionate/gabbioni con accessori

Gli oggetti nella zona soggetta a lesione della linea di trazione privi di una sufficiente capacità di tenuta della corrente di cortocircuito costituiscono un pericolo per le persone e per gli impianti. Questi corpi conduttivi, ad es. barriere o staccionate metalliche, devono essere rinforzati con un conduttore aggiuntivo e sufficientemente dimensionato. Questo si ottiene con un conduttore di cortocircuito. Si installa sulle staccionate o barriere e provoca un cortocircuito predefinito in caso di linea di trazione lesionata. I conduttori di cortocircuito trovano impiego anche nelle gallerie e nelle pareti insonorizzanti. I necessari accessori di montaggio, come i connettori a pressione e le staffe portafilo completano l'offerta nel suo complesso.

Conduttore di cortocircuito

Conduttore di cortocircuito di diametro 10 mm per l'impiego con correnti di cortocircuito inferiori a 15 kA, e di diametro 16 mm per l'impiego con correnti di cortocircuito superiori a 15 kA. I conduttori di cortocircuito soddisfano i requisiti della norma RIL 997.0205.

3 Prodotti

Art. 419752 RD 10 STTZN L2950 / 3 EBS 15.03.42

GTIN (EAN) 4013364463172, Codice doganale (EU): 72149939, Peso lordo: 1.80 kg, UM: 10.00 pz.


Immagini

Maggior informazioni

Conduttore di cortocircuito per applicazioni ferroviarie Fe/tZn Ø 10 mm
con bombatura su entrambe le estremità
Materiale: Fe/tZn
Diametro: 10 mm
Lunghezza: 2950 mm
Disegno DB (ferrovie tedesche) n.: 3 EBS 15.03.42
Riferimento normativo: Ril 997.0204/0205

Fabbricato: DEHN
Tipo: RD 10 STTZN L2950 / 3 EBS 15.03.42
Art.: 419752
o similare.

 

Caratteristiche tecniche

Materiale Fe/tZn
Diametro 10 mm
Lunghezza (l1) 2950 mm
Disegno DB (ferrovie tedesche) n. 3 EBS 15.03.42
Riferimento normativo Ril 997.0204/0205

Prodotto 419752 è stato aggiunto al blocco note.

Prodotto 419752 è stato aggiunto al carrello.

Apri Web-Shop

Art. 483200 FS 16 2000 STTZN

GTIN (EAN) 4013364019713, Codice doganale (EU): 72149939, Peso lordo: 3.00 kg, UM: 1.00 pz.


Immagini

Maggior informazioni

Asta di captazione con diametro 16 mm e lunghezza complessiva 2.000 mm Fe/tZn
Aste di adduzione a terra / di captazione per la
protezione di sovrastrutture sul tetto, camini, ecc.;
anche per l'installazione con zoccolo in cemento.
O come aste di adduzione a terra per il collegamento delle
calate all’impianto di messa a terra
Materiale: Fe/tZn
Diametro: 16 mm
Lunghezza: 2000 mm
Disegno DB (ferrovie tedesche) n.: 3 EBS 15.03.42
Riferimento normativo: Ril 997.0204/0205, CEI EN 62561-2

Fabbricato: DEHN
Tipo: FS 16 2000 STTZN
Art.: 483200
o similare.

Certificati

 

Caratteristiche tecniche

Materiale Fe/tZn
Diametro 16 mm
Lunghezza (l1) 2000 mm
Disegno DB (ferrovie tedesche) n. 3 EBS 15.03.42
Riferimento normativo Ril 997.0204/0205, CEI EN 62561-2

Prodotto 483200 è stato aggiunto al blocco note.

Prodotto 483200 è stato aggiunto al carrello.

Apri Web-Shop

Art. 419753 RD 16 STTZN L5950 / 3 EBS 15.03.42

GTIN (EAN) 4013364506053, Codice doganale (EU): 72149939, Peso lordo: 9.76 kg, UM: 1.00 pz.


Immagini

Maggior informazioni

Conduttore di cortocircuito per applicazioni ferroviarie Fe/tZn Ø 16 mm
con bombatura su entrambe le estremità
Materiale: Fe/tZn
Diametro: 16 mm
Lunghezza: 5950 mm
Disegno DB (ferrovie tedesche) n.: 3 EBS 15.03.42
Riferimento normativo: Ril 997.0204/0205

Fabbricato: DEHN
Tipo: RD 16 STTZN L5950 / 3 EBS 15.03.42
Art.: 419753
o similare.

 

Caratteristiche tecniche

Materiale Fe/tZn
Diametro 16 mm
Lunghezza (l1) 5950 mm
Disegno DB (ferrovie tedesche) n. 3 EBS 15.03.42
Riferimento normativo Ril 997.0204/0205

Prodotto 419753 è stato aggiunto al blocco note.

Prodotto 419753 è stato aggiunto al carrello.

Apri Web-Shop

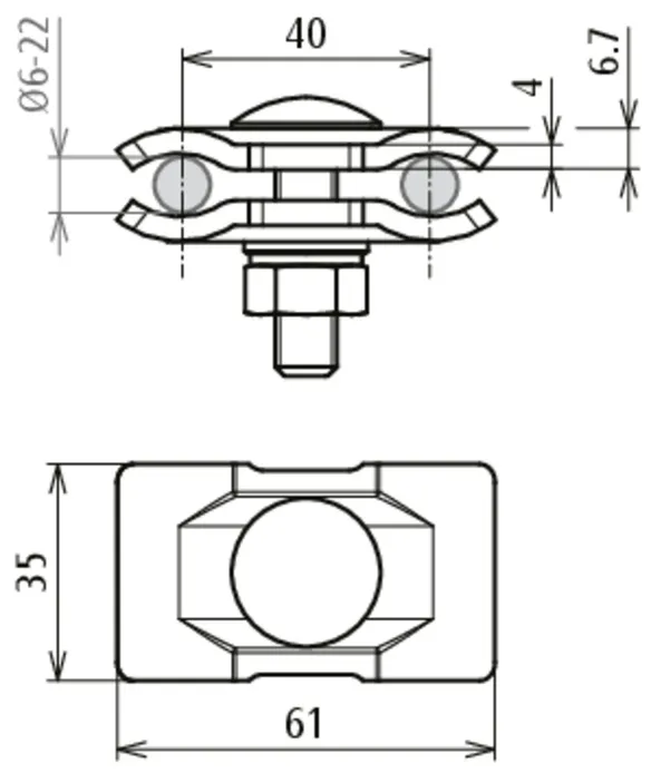
Staffa portafilo

Staffa portafilo per il fissaggio di conduttori di cortocircuito a gabbioni per pietre o staccionate in griglia metallica.

2 Prodotti

Art. 419751 PH 6.22 FRM10X40 FR STTZN/3 EBS 15.03.44

GTIN (EAN) 4013364459892, Codice doganale (EU): 85359000, Peso lordo: 169.52 g, UM: 50.00 pz.


Immagini

Maggior informazioni

Supporto parallelo Fe/tZn
per il fissaggio del conduttore di cortocircuito
a pareti di gabbioni e
a staccionate in griglia metallica.
Materiale del morsetto: Fe/tZn
Campo di serraggio morsetto Rd / Rd: 6-22 mm
Vite: M10 x 40
Materiale viti / grova: INOX
Materiale dado / rondella: INOX
Disegno DB (ferrovie tedesche) n.: 3 EBS 15.03.44
Riferimento normativo: Ril 997.0204/0205

Fabbricato: DEHN
Tipo: PH 6.22 FRM10X40 FR STTZN/3 EBS 15.03.44
Art.: 419751
o similare.

 

Caratteristiche tecniche

Materiale del morsetto Fe/tZn
Campo di serraggio morsetto Rd / Rd 6-22 mm
Vite eM10 x 40
Materiale viti / grova INOX
Materiale dado / rondella INOX
Disegno DB (ferrovie tedesche) n. 3 EBS 15.03.44
Riferimento normativo Ril 997.0204/0205

Prodotto 419751 è stato aggiunto al blocco note.

Prodotto 419751 è stato aggiunto al carrello.

Apri Web-Shop

Art. 419750 LH DQ 16 KBG 4.8 W STTZN/3 EBS 15.03.47

GTIN (EAN) 4013364486898, Codice doganale (EU): 85389099, Peso lordo: 164.40 g, UM: 50.00 pz.


Immagini

Maggior informazioni

Supporto angolato Fe/tZn
per il fissaggio del conduttore di cortocircuito
a pareti di gabbioni e
a staccionate in griglia metallica.
Montato con cavallotto
DEHNquick.
Materiale del morsetto: Fe/tZn
Campo di serraggio sbarra di inferriata: 4-8 mm
Campo di serraggio Td: 10-16 mm
Vite: M8 x 25 mm, M8 x 35 mm
Materiale della vite / del dado: INOX
Spessore del materiale: 3 mm
Versione con: Grova e rondella conica
Disegno DB (ferrovie tedesche) n.: 3 EBS 15.03.47
Riferimento normativo: Ril 997.0204/0205

Fabbricato: DEHN
Tipo: LH DQ 16 KBG 4.8 W STTZN/3 EBS 15.03.47
Art.: 419750
o similare.

 

Caratteristiche tecniche

Materiale del morsetto Fe/tZn
Campo di serraggio sbarra di inferriata 4-8 mm
Campo di serraggio Td 10-16 mm
Vite e M8 x 25 mm, e M8 x 35 mm
Materiale della vite / del dado INOX
Spessore del materiale 3 mm
Versione con Grova e rondella conica
Disegno DB (ferrovie tedesche) n. 3 EBS 15.03.47
Riferimento normativo Ril 997.0204/0205

Prodotto 419750 è stato aggiunto al blocco note.

Prodotto 419750 è stato aggiunto al carrello.

Apri Web-Shop

Connettore a pressione

Connettore a pressione in alluminio per il collegamento di conduttori di messa a terra per ferrovie, conformemente a 4 EBS 15.03.43.

4 Prodotti

Art. 419760 PRV RD10 RD10 L133 AL / 4 EBS 15.03.43

GTIN (EAN) 4013364505964, Codice doganale (EU): 85369010, Peso lordo: 130.18 g, UM: 3.00 pz.


Immagini

Maggior informazioni

Connettore a pressione in Al
per il collegamento di
due conduttori di cortocircuito Ø 10 mm.
Materiale: Al
Collegamento conduttore di cortocircuito / conduttore di cortocircuito: Ø 10 mm / Ø 10 mm
Diametro esterno: 25 mm
Diametro interno: 13 mm
Lunghezza: 133 mm
inserto a pressione: vedere disegno EBS
Forza di pressione secondo: 3 Ebgw 05.30
DB n.: 987845
Disegno DB (ferrovie tedesche) n.: 4 EBS 15.03.43
Riferimento normativo: Ril 997.0204/0205

Fabbricato: DEHN
Tipo: PRV RD10 RD10 L133 AL / 4 EBS 15.03.43
Art.: 419760
o similare.

 

Caratteristiche tecniche

Materiale Al
Collegamento conduttore di cortocircuito / conduttore di cortocircuito Ø 10 mm / Ø 10 mm
Diametro esterno 25 mm
Diametro interno 13 mm
Lunghezza (l1) 133 mm
inserto a pressione vedere disegno EBS
Forza di pressione secondo 3 Ebgw 05.30
DB n. 987845
Disegno DB (ferrovie tedesche) n. 4 EBS 15.03.43
Riferimento normativo Ril 997.0204/0205

Prodotto 419760 è stato aggiunto al blocco note.

Prodotto 419760 è stato aggiunto al carrello.

Apri Web-Shop

Art. 419761 PRV RD16 RD16 L143 AL / 4 EBS 15.03.43

GTIN (EAN) 4013364506367, Codice doganale (EU): 85369010, Peso lordo: 238.75 g, UM: 3.00 pz.


Immagini

Maggior informazioni

Connettore a pressione in Al
per il collegamento di
due conduttori di cortocircuito Ø 16 mm
Materiale: Al
Collegamento conduttore di cortocircuito / conduttore di cortocircuito: Ø 16 mm / Ø 16 mm
Diametro esterno: 32 mm
Diametro interno: 17 mm
Lunghezza: 143 mm
inserto a pressione: vedere disegno EBS
Forza di pressione secondo: 3 Ebgw 05.30
DB n.: 1449223
Disegno DB (ferrovie tedesche) n.: 4 EBS 15.03.43
Riferimento normativo: Ril 997.0204/0205

Fabbricato: DEHN
Tipo: PRV RD16 RD16 L143 AL / 4 EBS 15.03.43
Art.: 419761
o similare.

 

Caratteristiche tecniche

Materiale Al
Collegamento conduttore di cortocircuito / conduttore di cortocircuito Ø 16 mm / Ø 16 mm
Diametro esterno 32 mm
Diametro interno 17 mm
Lunghezza (l1) 143 mm
inserto a pressione vedere disegno EBS
Forza di pressione secondo 3 Ebgw 05.30
DB n. 1449223
Disegno DB (ferrovie tedesche) n. 4 EBS 15.03.43
Riferimento normativo Ril 997.0204/0205

Prodotto 419761 è stato aggiunto al blocco note.

Prodotto 419761 è stato aggiunto al carrello.

Apri Web-Shop

Art. 419762 PRV RD10 110 L133 AL / 4 EBS 15.03.43

GTIN (EAN) 4013364506374, Codice doganale (EU): 85369010, Peso lordo: 140.28 g, UM: 3.00 pz.


Immagini

Maggior informazioni

Connettore a pressione Al
per il collegamento di
un cavo di messa a terra per ferrovia
100/110 mm2 Con un
conduttore di cortocircuito Ø 10 mm
Materiale: Al
Collegamento cavo di messa a terra / conduttore di cortocircuito: 100/110 mm2 / Ø 10 mm
Diametro esterno: 25 mm
Diametro interno: 11/13 mm
Lunghezza: 133 mm
inserto a pressione: vedere disegno EBS
Forza di pressione secondo: 3 Ebgw 05.30
DB n.: 987879
Disegno DB (ferrovie tedesche) n.: 4 EBS 15.03.43
Riferimento normativo: Ril 997.0204/0205

Fabbricato: DEHN
Tipo: PRV RD10 110 L133 AL / 4 EBS 15.03.43
Art.: 419762
o similare.

 

Caratteristiche tecniche

Materiale Al
Collegamento cavo di messa a terra / conduttore di cortocircuito 100/110 mm2 / Ø 10 mm
Diametro esterno 25 mm
Diametro interno 11/13 mm
Lunghezza (l1) 133 mm
inserto a pressione vedere disegno EBS
Forza di pressione secondo 3 Ebgw 05.30
DB n. 987879
Disegno DB (ferrovie tedesche) n. 4 EBS 15.03.43
Riferimento normativo Ril 997.0204/0205

Prodotto 419762 è stato aggiunto al blocco note.

Prodotto 419762 è stato aggiunto al carrello.

Apri Web-Shop

Art. 419763 PRV RD16 110 L143 AL / 4 EBS 15.03.43

GTIN (EAN) 4013364506381, Codice doganale (EU): 85369010, Peso lordo: 247.78 g, UM: 3.00 pz.


Immagini

Maggior informazioni

Connettore a pressione Al
per il collegamento di
un cavo di messa a terra per ferrovia
100/110 mm2 Con un
conduttore di cortocircuito Ø 16 mm
Materiale: Al
Collegamento cavo di messa a terra / conduttore di cortocircuito: 100/110 mm2 / Ø 16 mm
Diametro esterno: 32 mm
Diametro interno: 15/17 mm
Lunghezza: 143 mm
inserto a pressione: vedere disegno EBS
Forza di pressione secondo: 3 Ebgw 05.30
DB n.: 1449206
Disegno DB (ferrovie tedesche) n.: 4 EBS 15.03.43
Riferimento normativo: Ril 997.0204/0205

Fabbricato: DEHN
Tipo: PRV RD16 110 L143 AL / 4 EBS 15.03.43
Art.: 419763
o similare.

 

Caratteristiche tecniche

Materiale Al
Collegamento cavo di messa a terra / conduttore di cortocircuito 100/110 mm2 / Ø 16 mm
Diametro esterno 32 mm
Diametro interno 15/17 mm
Lunghezza (l1) 143 mm
inserto a pressione vedere disegno EBS
Forza di pressione secondo 3 Ebgw 05.30
DB n. 1449206
Disegno DB (ferrovie tedesche) n. 4 EBS 15.03.43
Riferimento normativo Ril 997.0204/0205

Prodotto 419763 è stato aggiunto al blocco note.

Prodotto 419763 è stato aggiunto al carrello.

Apri Web-Shop

Cavo di messa a terra per ferrovia

Cavo di messa a terra in alluminio per ferrovia secondo EBS 15.03.17-3 con marcatura a vista mediante strisce blu.

2 Prodotti

Art. 419758 EK 110 L25M AL / 3 EBS 15.03.17-3

GTIN (EAN) 4013364505940, Codice doganale (EU): 85446090, Peso lordo: 15.75 kg, UM: 1.00 pz.


Immagini

Maggior informazioni

Cavo di messa a terra per ferrovia AlMg(acciaio) 110 mm2
Cavo in PVC 110 RM 0,6/1 kV AlMg(acciaio)
Protezione antifurto tramite marcatura a vista
Materiale della conduttura: AlMg(acciaio)
Materiale della guaina: PVC
Colore della conduttura: nero ● (con strisce ● longitudinali blu)
Sezione conduttore interno (semirigido): 110 mm2
Lunghezza del cavo conduttore (su bobina): 25 m
Caratteristiche della guaina: stabilizzato ai raggi UV e resistente alle intemperie
DB n.: 965121
Disegno DB (ferrovie tedesche) n.: 3 EBS 15.03.17-3
Riferimento normativo: Ril 997.0204/0205

Fabbricato: DEHN
Tipo: EK 110 L25M AL / 3 EBS 15.03.17-3
Art.: 419758
o similare.

 

Caratteristiche tecniche

Materiale della conduttura AlMg (acciaio)
Materiale della guaina PVC
Colore della conduttura nero ● (con strisce longitudinali blu)
Sezione conduttore interno (semirigido) 110 mm2
Lunghezza del cavo conduttore (su bobina) 25 m
Caratteristiche della guaina stabilizzato ai raggi UV e resistente alle intemperie
DB n. 965121
Disegno DB (ferrovie tedesche) n. 3 EBS 15.03.17-3
Riferimento normativo Ril 997.0204/0205

Prodotto 419758 è stato aggiunto al blocco note.

Prodotto 419758 è stato aggiunto al carrello.

Apri Web-Shop

Art. 419759 EK 110 L50M AL / 3 EBS 15.03.17-3

GTIN (EAN) 4013364505995, Codice doganale (EU): 85446090, Peso lordo: 31.50 kg, UM: 1.00 pz.


Immagini

Maggior informazioni

Cavo di messa a terra per ferrovia AlMg(acciaio) 110 mm2
Guaina in PVC 110 RM 0,6/1 kV AlMg(acciaio)
Protezione antifurto tramite marcatura a vista
Materiale della conduttura: AlMg(acciaio)
Materiale della guaina: PVC
Colore della conduttura: nero ● (con strisce ● longitudinali blu)
Sezione conduttore interno (semirigido): 110 mm2
Lunghezza del cavo conduttore (su bobina): 50 m
Caratteristiche della guaina: stabilizzato ai raggi UV e resistente alle intemperie
DB n.: 965121
Disegno DB (ferrovie tedesche) n.: 3 EBS 15.03.17-3
Riferimento normativo: Ril 997.0204/0205

Fabbricato: DEHN
Tipo: EK 110 L50M AL / 3 EBS 15.03.17-3
Art.: 419759
o similare.

 

Caratteristiche tecniche

Materiale della conduttura AlMg (acciaio)
Materiale della guaina PVC
Colore della conduttura nero ● (con strisce longitudinali blu)
Sezione conduttore interno (semirigido) 110 mm2
Lunghezza del cavo conduttore (su bobina) 50 m
Caratteristiche della guaina stabilizzato ai raggi UV e resistente alle intemperie
DB n. 965121
Disegno DB (ferrovie tedesche) n. 3 EBS 15.03.17-3
Riferimento normativo Ril 997.0204/0205

Prodotto 419759 è stato aggiunto al blocco note.

Prodotto 419759 è stato aggiunto al carrello.

Apri Web-Shop

Capicorda a campana

Capocorda a campana in alluminio secondo 3 EBS 15.03.22-1 nella versione M10/M12 per cavi di messa a terra ferroviari.

2 Prodotti

Art. 419765 GKS 110 12 AL / 3 EBS 15.03.22-1

GTIN (EAN) 4013364506404, Codice doganale (EU): 85369010, Peso lordo: 86.54 g, UM: 3.00 pz.


Immagini

Maggior informazioni

Capocorda a campana Al 110 mm² M12
per cavi di messa a terra con
Guaina in PVC e
conduttore in AlMg(acciaio)
Materiale: Al
Diametro esterno: 25 mm
Diametro interno: 22 mm
Lunghezza: 119 mm
Materiale della conduttura: AlMgSt
Materiale della guaina: (N)A(St)YY-O
Sezione del conduttore: 110 mm2
Foro capocorda: 13 mm (M12)
inserto a pressione: vedere disegno EBS
Forza di pressione secondo: 3 Ebgw 05.30
DB n.: 1219081
Disegno DB (ferrovie tedesche) n.: 3 EBS 15.03.22-1
Riferimento normativo: Ril 997.0204/0205

Fabbricato: DEHN
Tipo: GKS 110 12 AL / 3 EBS 15.03.22-1
Art.: 419765
o similare.

 

Caratteristiche tecniche

Materiale Al
Diametro esterno 25 mm
Diametro interno 22 mm
Lunghezza (l1) 119 mm
Materiale della conduttura AlMgSt
Materiale della guaina (N)A(St)YY-O
Sezione del conduttore 110 mm2
Foro capocorda 13 mm (M12)
inserto a pressione vedere disegno EBS
Forza di pressione secondo 3 Ebgw 05.30
DB n. 1219081
Disegno DB (ferrovie tedesche) n. 3 EBS 15.03.22-1
Riferimento normativo Ril 997.0204/0205

Prodotto 419765 è stato aggiunto al blocco note.

Prodotto 419765 è stato aggiunto al carrello.

Apri Web-Shop

Art. 419766 GKS 110 16 AL / 3 EBS 15.03.22-1

GTIN (EAN) 4013364506411, Codice doganale (EU): 85369010, Peso lordo: 86.82 g, UM: 3.00 pz.


Immagini

Maggior informazioni

Capocorda a campana Al 110 mm² M16
per cavi di messa a terra con
Guaina in PVC e
conduttore in AlMg(acciaio)
Materiale: Al
Diametro esterno: 25 mm
Diametro interno: 22 mm
Lunghezza: 119 mm
Materiale della conduttura: AlMgSt
Materiale della guaina: (N)A(St)YY-O
Sezione del conduttore: 110 mm2
Foro capocorda: 17 mm (M16)
inserto a pressione: vedere disegno EBS
Forza di pressione secondo: 3 Ebgw 05.30
DB n.: 1219082
Disegno DB (ferrovie tedesche) n.: 3 EBS 15.03.22-1
Riferimento normativo: Ril 997.0204/0205

Fabbricato: DEHN
Tipo: GKS 110 16 AL / 3 EBS 15.03.22-1
Art.: 419766
o similare.

 

Caratteristiche tecniche

Materiale Al
Diametro esterno 25 mm
Diametro interno 22 mm
Lunghezza (l1) 119 mm
Materiale della conduttura AlMgSt
Materiale della guaina (N)A(St)YY-O
Sezione del conduttore 110 mm2
Foro capocorda 17 mm (M16)
inserto a pressione vedere disegno EBS
Forza di pressione secondo 3 Ebgw 05.30
DB n. 1219082
Disegno DB (ferrovie tedesche) n. 3 EBS 15.03.22-1
Riferimento normativo Ril 997.0204/0205

Prodotto 419766 è stato aggiunto al blocco note.

Prodotto 419766 è stato aggiunto al carrello.

Apri Web-Shop

back to top