Equipotenzialità per sistemi portacavi per ambienti Ex zona 2/22

Il sistema di equipotenzialità viene montato su sistemi portacavi e, con un conduttore di equipotenzialità ad anello chiuso e morsetti e piastre di equipotenzialità, permette l’integrazione di tutte le parti dell’impianto dotate di conduttività e degli elementi elettrici d’esercizio in un’equipotenzialità in ambiente Ex. Così si garantisce un collegamento costante.

Morsetto PA per corsie cavi e piastra PA

Morsetto PA (PAK) corsia di cavi

  • Collegamento solo con conduttore di equipotenzialità ad anello (conduttore cordato stagnato)
  • Fissaggio alla corsia di cavi con buco laterale o alla piastra PA (PAP 1 / PAP 2)
  • Morsetto PA viene montato ca. ogni 0,5 m

6 Prodotti

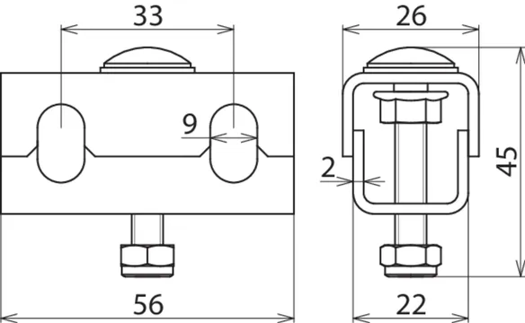
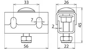
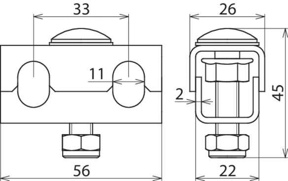
Art. 306200 PAK 35 M8 EX KB ER

GTIN (EAN) 4013364327368, Codice doganale (EU): 85359000, Peso lordo: 113.40 g, UM: 50.00 pz.


Immagini

Maggior informazioni

Morsetto di equipotenzialità per sistemi portacavi
Morsetto di equipotenzialità per la posa
di un conduttore con equipotenzialità ad anello
per il fissaggio come morsetto singolo alla corsia cavi
perforata lateralmente, canale per cavi
o corsia con perforazioni per la tensione ampia dei cavi
e per il fissaggio sulla piastra PA PAP1-EX-KB-ER
o PAP2-EX-KB-ER
utilizzabile nella zona Ex 2/22

Materiale: INOX
Campo di serraggio conduttore ad anello PA: 35 mm², Cu/gal Sn
Materiale n.: 1.4301
Zona Ex: 2/22

Fabbricato: DEHN
Tipo: PAK 35 M8 EX KB ER
Art.: 306200
o similare.

Certificati

 

Caratteristiche tecniche

Materiale INOX
Connessione a PAP 1 EX KB ER e PAP 2 EX KB ER o corsia per cavi ossia per tensione ampia dei cavi
Campo di serraggio conduttore ad anello PA 35 mm², Cu /gal Sn
Vite M8 x 40 mm
Materiale vite / dado INOX
Materiale n. 1.4301
Zona Ex 2/22
Corrente di cortocircuito AC (50 Hz / 5 s) 1,5 kA
Corrente di cortocircuito DC (5 s) 250 A

Prodotto 306200 è stato aggiunto al blocco note.

Prodotto 306200 è stato aggiunto al carrello.

Apri Web-Shop

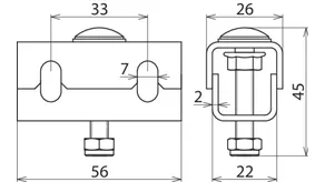
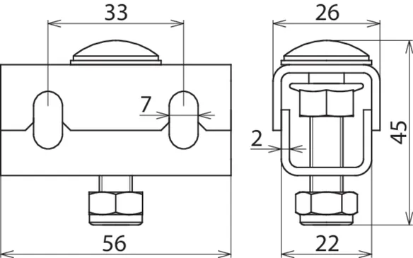
Art. 306201 PAK 50 M8 EX KB ER

GTIN (EAN) 4013364327375, Codice doganale (EU): 85359000, Peso lordo: 128.80 g, UM: 50.00 pz.


Immagini

Maggior informazioni

Morsetto di equipotenzialità per sistemi portacavi
morsetto di equipotenzialità per la posa
di un conduttore con equipotenzialità ad anello
per il fissaggio come morsetto singolo alla corsia cavi
perforata lateralmente, canale per cavi
o corsia con perforazioni per la tensione ampia dei cavi
e per il fissaggio sulla piastra PA PAP1-EX-KB-ER
o PAP2-EX-KB-ER
utilizzabile nella zona Ex 2/22

Materiale: INOX
Campo di serraggio conduttore ad anello PA: 50 mm², Cu/gal Sn
Materiale n.: 1.4301
Zona Ex: 2/22

Fabbricato: DEHN
Tipo: PAK 50 M8 EX KB ER
Art.: 306201
o similare.

Certificati

 

Caratteristiche tecniche

Materiale INOX
Connessione a PAP 1 EX KB ER e PAP 2 EX KB ER o corsia per cavi ossia per tensione ampia dei cavi
Campo di serraggio conduttore ad anello PA 50 mm², Cu /gal Sn
Vite M8 x 40 mm
Materiale vite / dado INOX
Materiale n. 1.4301
Zona Ex 2/22

Prodotto 306201 è stato aggiunto al blocco note.

Prodotto 306201 è stato aggiunto al carrello.

Apri Web-Shop

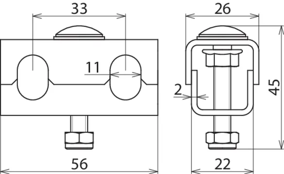
Art. 306202 PAK 70 M8 EX KB ER

GTIN (EAN) 4013364327351, Codice doganale (EU): 85359000, Peso lordo: 110.00 g, UM: 50.00 pz.


Immagini

Maggior informazioni

Morsetto di equipotenzialità per sistemi portacavi
morsetto di equipotenzialità per la posa
di un conduttore con equipotenzialità ad anello
per il fissaggio come morsetto singolo alla corsia cavi
perforata lateralmente, canale per cavi
o corsia con perforazioni per la tensione ampia dei cavi
e per il fissaggio sulla piastra PA PAP1-EX-KB-ER
o PAP2-EX-KB-ER
utilizzabile nella zona Ex 2/22
Materiale: INOX
Campo di serraggio conduttore ad anello PA: 70 mm², Cu/gal Sn
Materiale n.: 1.4301
Zona Ex: 2/22

Fabbricato: DEHN
Tipo: PAK 70 M8 EX KB ER
Art.: 306202
o similare.

Certificati

 

Caratteristiche tecniche

Materiale INOX
Connessione a PAP 1 EX KB ER e PAP 2 EX KB ER o corsia per cavi ossia per tensione ampia dei cavi
Campo di serraggio conduttore ad anello PA 70 mm², Cu /gal Sn
Vite M8 x 40 mm
Materiale vite / dado INOX
Materiale n. 1.4301
Zona Ex 2/22
Corrente di cortocircuito AC (50 Hz / 5 s) 1,5 kA
Corrente di cortocircuito DC (5 s) 250 A

Prodotto 306202 è stato aggiunto al blocco note.

Prodotto 306202 è stato aggiunto al carrello.

Apri Web-Shop

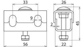
Art. 306204 PAK 35 M6 EX KB ER

GTIN (EAN) 4013364336766, Codice doganale (EU): 85359000, Peso lordo: 98.20 g, UM: 50.00 pz.


Immagini

Maggior informazioni

Morsetto di equipotenzialità per sistemi portacavi
morsetto di equipotenzialità per la posa
di un conduttore con equipotenzialità ad anello
per il fissaggio come morsetto singolo alla corsia cavi
perforata lateralmente, canale per cavi
o corsia con perforazioni per la tensione ampia dei cavi
e per il fissaggio sulla piastra PA PAP1-EX-KB-ER
o PAP2-EX-KB-ER
utilizzabile nella zona Ex 2/22
Materiale: INOX
Campo di serraggio conduttore ad anello PA: 35 mm², Cu/gal Sn
Materiale n.: 1.4301
Zona Ex: 2/22

Fabbricato: DEHN
Tipo: PAK 35 M6 EX KB ER
Art.: 306204
o similare.

Certificati

 

Caratteristiche tecniche

Materiale INOX
Connessione a PAP 1 EX KB ER e PAP 2 EX KB ER o corsia per cavi ossia per tensione ampia dei cavi
Campo di serraggio conduttore ad anello PA 35 mm², Cu /gal Sn
Vite M6 x 35 mm
Materiale vite / dado INOX
Materiale n. 1.4301
Zona Ex 2/22

Prodotto 306204 è stato aggiunto al blocco note.

Prodotto 306204 è stato aggiunto al carrello.

Apri Web-Shop

Art. 306205 PAK 50 M6 EX KB ER

GTIN (EAN) 4013364336773, Codice doganale (EU): 85359000, Peso lordo: 95.60 g, UM: 50.00 pz.


Immagini

Maggior informazioni

Morsetto di equipotenzialità per sistemi portacavi
morsetto di equipotenzialità per la posa
di un conduttore con equipotenzialità ad anello
per il fissaggio come morsetto singolo alla corsia cavi
perforata lateralmente, canale per cavi
o corsia con perforazioni per la tensione ampia dei cavi
e per il fissaggio sulla piastra PA PAP1-EX-KB-ER
o PAP2-EX-KB-ER
utilizzabile nella zona Ex 2/22
Materiale: INOX
Campo di serraggio conduttore ad anello PA: 50 mm², Cu/gal Sn
Materiale n.: 1.4301
Zona Ex: 2/22

Fabbricato: DEHN
Tipo: PAK 50 M6 EX KB ER
Art.: 306205
o similare.

Certificati

 

Caratteristiche tecniche

Materiale INOX
Connessione a PAP 1 EX KB ER e PAP 2 EX KB ER o corsia per cavi ossia per tensione ampia dei cavi
Campo di serraggio conduttore ad anello PA 50 mm², Cu /gal Sn
Vite M6 x 35 mm
Materiale vite / dado INOX
Materiale n. 1.4301
Zona Ex 2/22

Prodotto 306205 è stato aggiunto al blocco note.

Prodotto 306205 è stato aggiunto al carrello.

Apri Web-Shop

Art. 306206 PAK 70 M6 EX KB ER

GTIN (EAN) 4013364336780, Codice doganale (EU): 85359000, Peso lordo: 94.20 g, UM: 50.00 pz.


Immagini

Maggior informazioni

Morsetto di equipotenzialità per sistemi portacavi
morsetto di equipotenzialità per la posa
di un conduttore con equipotenzialità ad anello
per il fissaggio come morsetto singolo alla corsia cavi
perforata lateralmente, canale per cavi
o corsia con perforazioni per la tensione ampia dei cavi
e per il fissaggio sulla piastra PA PAP1-EX-KB-ER
o PAP2-EX-KB-ER
utilizzabile nella zona Ex 2/22
Materiale: INOX
Campo di serraggio conduttore ad anello PA: 70 mm², Cu/gal Sn
Materiale n.: 1.4301
Zona Ex: 2/22

Fabbricato: DEHN
Tipo: PAK 70 M6 EX KB ER
Art.: 306206
o similare.

Certificati

 

Caratteristiche tecniche

Materiale INOX
Connessione a PAP 1 EX KB ER e PAP 2 EX KB ER o corsia per cavi ossia per tensione ampia dei cavi
Campo di serraggio conduttore ad anello PA 70 mm², Cu /gal Sn
Vite M6 x 35 mm
Materiale vite / dado INOX
Materiale n. 1.4301
Zona Ex 2/22

Prodotto 306206 è stato aggiunto al blocco note.

Prodotto 306206 è stato aggiunto al carrello.

Apri Web-Shop

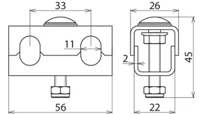
Morsetto PA per corsie griglia

Morsetto PA (PAK) corsia di cavi

  • Collegamento solo con conduttore di equipotenzialità ad anello 35 mm2, art. n. 832 838 (conduttore cordato stagnato)
  • Fissaggio alla corsia di cavi con buco laterale o alla piastra PA (PAP 1 / PAP 2)
  • Morsetto PA viene montato ca. ogni 0,5 m

1 Prodotto

Art. 306203 PAK 35 M8 EX GI ER

GTIN (EAN) 4013364327382, Codice doganale (EU): 85359000, Peso lordo: 128.80 g, UM: 50.00 pz.


Immagini

Maggior informazioni

Morsetto di equipotenzialità per sistemi portacavi
morsetto di equipotenzialità per la posa
di un conduttore con equipotenzialità ad anello
per il fissaggio come morsetto singolo alla corsia cavi
perforata lateralmente, canale per cavi
o corsia con perforazioni per la tensione ampia dei cavi
e per il fissaggio sulla piastra PA PAP1-EX-KB-ER
o PAP2-EX-GI-ER
utilizzabile nella zona Ex 2/22
Materiale: INOX
Campo di serraggio conduttore ad anello PA: 35 mm², Cu/gal Sn
Materiale n.: 1.4301
Zona Ex: 2/22

Fabbricato: DEHN
Tipo: PAK 35 M8 EX GI ER
Art.: 306203
o similare.

Certificati

 

Caratteristiche tecniche

Materiale INOX
Connessione a PAP 1 EX GI ER bzw. PAP 2 EX GI ER o corsia griglia
Campo di serraggio conduttore ad anello PA 35 mm², Cu/gal Sn
Vite M8 x 40 mm
Materiale vite / dado INOX
Materiale n. 1.4301
Zona Ex 2/22
Corrente di cortocircuito AC (50 Hz / 5 s) 1,5 kA
Corrente di cortocircuito DC (5 s) 250 A

Prodotto 306203 è stato aggiunto al blocco note.

Prodotto 306203 è stato aggiunto al carrello.

Apri Web-Shop

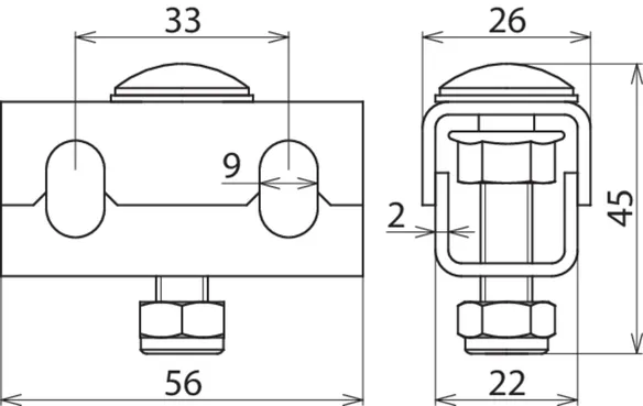
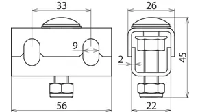
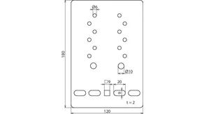
Piastra PA per corsie di cavi

Piastra equipotenzialità (PAP) corsia di cavi

  • Accoglimento del morsetto equipotenzialità (PAK) per l’equipotenzialità ad anello (conduttore cordato in rame stagnato)
  • Fissaggio alla corsia di cavi con buco laterale

2 Prodotti

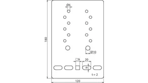
Art. 306210 PAP 1 EX KB ER

GTIN (EAN) 4013364327399, Codice doganale (EU): 85359000, Peso lordo: 374.00 g, UM: 15.00 pz.


Immagini

Maggior informazioni

Piastra di equipotenzialità per sistemi portacavi
piastra di equipotenzialità per la connessione
alla corsia cavi perforata lateralmente, canale per cavi
o corsia con perforazioni per la tensione ampia dei cavi
per l'inserimento della piastra PA per corsie di cavi (KB)
utilizzabile nella zona Ex 2/22

Materiale: INOX
Fori di connessione per conduttori PA con capocorda: 3x Ø11 mm, 3x Ø9 mm, meno trazione 3x morsetti per conduttori cordati M6
Zona Ex: 2/22

Fabbricato: DEHN
Tipo: PAP 1 EX KB ER
Art.: 306210
o similare.

Certificati

 

Caratteristiche tecniche

Materiale INOX
Dimensioni 120 x 180 mm
Fori di connessione per conduttori PA con capocorda 3x Ø11 mm, 3x Ø9 mm, meno trazione 3x morsetti per conduttori cordati M6
Possibilità di connessione con morsetti PA PAK ... EX KB ER
Fori di fissaggio per percorsi di cavi [4x] 9 x 20 / [1x] 9 x 9 mm
Zona Ex 2/22
Corrente di cortocircuito AC (50 Hz / 5 s) 1,5 kA
Corrente di cortocircuito DC (5 s) 250 A

Prodotto 306210 è stato aggiunto al blocco note.

Prodotto 306210 è stato aggiunto al carrello.

Apri Web-Shop

Art. 306211 PAP 2 EX KB ER

GTIN (EAN) 4013364327405, Codice doganale (EU): 85359000, Peso lordo: 401.00 g, UM: 15.00 pz.


Immagini

Maggior informazioni

Piastra di equipotenzialità per sistemi portacavi
piastra di equipotenzialità per la connessione
alla corsia cavi perforata lateralmente, canale per cavi
o corsia con perforazioni per la tensione ampia dei cavi
per l'inserimento della piastra PA per corsie di cavi (KB)
utilizzabile nella zona Ex 2/22
Materiale: INOX
Fori di connessione per conduttori PA con capocorda: 2x Ø11 mm, 12x Ø7 mm
Zona Ex: 2/22

Fabbricato: DEHN
Tipo: PAP 2 EX KB ER
Art.: 306211
o similare.

Certificati

 

Caratteristiche tecniche

Materiale INOX
Dimensioni 120 x 195 mm
Fori di connessione per conduttori PA con capocorda 2x Ø11 mm, 12x Ø7 mm
Possibilità di connessione con morsetti PA PAK ... EX KB ER
Fori di fissaggio per percorsi di cavi [4x] 9 x 20 / [1x] 9 x 9 mm
Zona Ex 2/22
Corrente di cortocircuito AC (50 Hz / 5 s) 1,5 kA
Corrente di cortocircuito DC (5 s) 250 A

Prodotto 306211 è stato aggiunto al blocco note.

Prodotto 306211 è stato aggiunto al carrello.

Apri Web-Shop

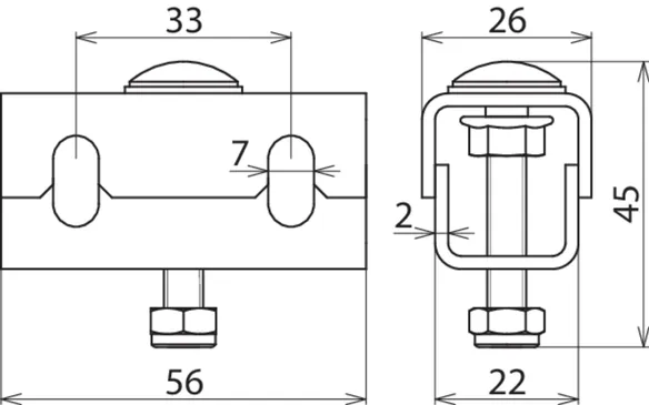
Piastra PA per corsie griglia

Piastra equipotenzialità (PAP) corsia griglia

  • Accoglimento del morsetto equipotenzialità (PAK) per l’equipotenzialità ad anello (conduttore cordato in rame stagnato)
  • Fissaggio alla corsia griglia

2 Prodotti

Art. 306212 PAP 1 EX GI ER

GTIN (EAN) 4013364327412, Codice doganale (EU): 85359000, Peso lordo: 384.00 g, UM: 15.00 pz.


Immagini

Maggior informazioni

Piastra di equipotenzialità per sistemi portacavi
piastra di equipotenzialità per la connessione
a corsie griglia e
per l'inserimento della piastra PA per corsie griglia (GI)
utilizzabile nella zona Ex 2/22

Materiale: INOX
Fori di connessione per conduttori PA con capocorda: 3x Ø11 mm, 3x Ø9 mm, meno trazione 3x morsetti per conduttori cordati M6
Zona Ex: 2/22

Fabbricato: DEHN
Tipo: PAP 1 EX GI ER
Art.: 306212
o similare.

Certificati

 

Caratteristiche tecniche

Materiale INOX
Dimensioni 120 x 180 mm
Fori di connessione per conduttori PA con capocorda 3x Ø11 mm, 3x Ø9 mm, meno trazione 3x morsetti per conduttori cordati M6
Possibilità di connessione con morsetti PA PAK ... EX KB ER
Fori di fissaggio per percorso della griglia Corsia griglia [4x] 9 x 20 / [1x] 9 x 9 mm
Zona Ex 2/22
Corrente di cortocircuito AC (50 Hz / 5 s) 1,5 kA
Corrente di cortocircuito DC (5 s) 250 A

Prodotto 306212 è stato aggiunto al blocco note.

Prodotto 306212 è stato aggiunto al carrello.

Apri Web-Shop

Art. 306213 PAP 2 EX GI ER

GTIN (EAN) 4013364327429, Codice doganale (EU): 85359000, Peso lordo: 391.50 g, UM: 15.00 pz.


Immagini

Maggior informazioni

Piastra di equipotenzialità per sistemi portacavi
piastra di equipotenzialità per la connessione
a corsie griglia e
per l'inserimento della piastra PA per corsie griglia (GI)
utilizzabile nella zona Ex 2/22

Materiale: INOX
Fori di connessione per conduttori PA con capocorda: 2x Ø11 mm, 12x Ø7 mm
Zona Ex: 2/22

Fabbricato: DEHN
Tipo: PAP 2 EX GI ER
Art.: 306213
o similare.

Certificati

 

Caratteristiche tecniche

Materiale INOX
Dimensioni 120 x 195 mm
Fori di connessione per conduttori PA con capocorda 2x Ø11 mm, 12x Ø7 mm
Possibilità di connessione con morsetti PA PAK ... EX KB ER
Fori di fissaggio per percorso della griglia [4x] 9 x 20 / [1x] 9 x 9 mm
Zona Ex 2/22
Corrente di cortocircuito AC (50 Hz / 5 s) 1,5 kA
Corrente di cortocircuito DC (5 s) 250 A

Prodotto 306213 è stato aggiunto al blocco note.

Prodotto 306213 è stato aggiunto al carrello.

Apri Web-Shop

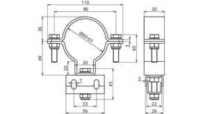
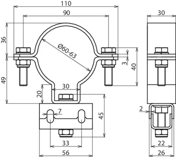
Collari PA

Fascetta equipotenzialità (SBD 60 PAK 35)

  • Collegamento solo con conduttore di equipotenzialità ad anello 35 mm2, Art.-Nr. 832 838 (Conduttore cordato in rame stagnato)
  • Fissaggio a tubo rotondo DN50 (60 m)
  • Morsetto equipotenzialità viene montato ca. ogni 0,5 m

1 Prodotto

Art. 306220 SBD 60 PAK 35 EX ER

GTIN (EAN) 4013364327436, Codice doganale (EU): 85359000, Peso lordo: 408.00 g, UM: 50.00 pz.


Immagini

Maggior informazioni

Collare per tubi per l'equipotenzialità per sistemi portacavi
Collare per tubi per l'equipotenzialità
con morsetto per la posa
di un conduttore con equipotenzialità ad anello
sul tubo rotondo DN50
utilizzabile nella zona Ex 2/22
Materiale: INOX
Campo di serraggio conduttore ad anello PA: 35 mm², Cu/gal Sn
Zona Ex: 2/22

Fabbricato: DEHN
Tipo: SBD 60 PAK 35 EX ER
Art.: 306220
o similare.

Certificati

 

Caratteristiche tecniche

Materiale INOX
Dimensioni Ø60 mm
Campo di serraggio conduttore ad anello PA 35 mm², Cu /gal Sn
Zona Ex 2/22

Prodotto 306220 è stato aggiunto al blocco note.

Prodotto 306220 è stato aggiunto al carrello.

Apri Web-Shop

Morsetto per conduttore cordato

Morsetto per conduttore cordato per minore trazione durante la posa del conduttore cordato in rame sulla piastra di equipotenzialità PAP1 EX KB ER ossia PAP1 EX GI ER.

2 Prodotti

Art. 306230 MPE S 35 ER

GTIN (EAN) 4013364327443, Codice doganale (EU): 85359000, Peso lordo: 10.60 g, UM: 10.00 pz.


Immagini

Maggior informazioni

Morsetto per conduttori cordati per sistemi portacavi
Morsetto per conduttori cordati per minore trazione
durante la posa di
conduttori cordati in rame sulla
piastra d'equipotenzialità
PAP1-EX-KB-ER ossia PAP1-EX-GI-ER
Materiale: INOX
Campo di serraggio conduttore cordato in rame: 35 mm²
Zona Ex: 2/22

Fabbricato: DEHN
Tipo: MPE S 35 ER
Art.: 306230
o similare.

Certificati

 

Caratteristiche tecniche

Materiale INOX
Connessione a PAP1 EX KB ER ossia PAP1 EX GI ER
Campo di serraggio conduttore cordato in rame 35 mm²
Zona Ex 2/22

Prodotto 306230 è stato aggiunto al blocco note.

Prodotto 306230 è stato aggiunto al carrello.

Apri Web-Shop

Art. 306231 MPE S 50/70 ER

GTIN (EAN) 4013364327450, Codice doganale (EU): 85359000, Peso lordo: 12.40 g, UM: 10.00 pz.


Immagini

Maggior informazioni

Morsetto per conduttori cordati per sistemi portacavi
Morsetto per conduttori cordati per minore trazione
durante la posa di
conduttori cordati in rame sulla
piastra d'equipotenzialità
PAP1-EX-KB-ER ossia PAP1-EX-GI-ER
Materiale: INOX
Campo di serraggio conduttore cordato in rame: 50 bzw. 70 mm²
Zona Ex: 2/22

Fabbricato: DEHN
Tipo: MPE S 50/70 ER
Art.: 306231
o similare.

Certificati

 

Caratteristiche tecniche

Materiale INOX
Connessione a PAP1 EX KB ER ossia PAP1 EX GI ER
Campo di serraggio conduttore cordato in rame 50 bzw. 70 mm²
Zona Ex 2/22

Prodotto 306231 è stato aggiunto al blocco note.

Prodotto 306231 è stato aggiunto al carrello.

Apri Web-Shop

Dado autobloccante

Dado autobloccante per morsetti per conduttori cordati (MPE S 35 ER e MPE S 50/70 ER).

1 Prodotto

Art. 306240 SM SS M6 ER

GTIN (EAN) 4013364327467, Codice doganale (EU): 85359000, Peso lordo: 2.25 g, UM: 20.00 pz.


Immagini

Maggior informazioni

Vite M6 INOX
Fermo per vite M6
per impedire lo scioglimento o l'allentamento involontari
a causa delle vibrazioni (autobloccante)
per morsetto per conduttori cordati MPE S 35 ER bzw. MPE S 50/70 ER
Materiale: INOX
Zona Ex: 2/22

Fabbricato: DEHN
Tipo: SM SS M6 ER
Art.: 306240
o similare.

Certificati

 

Caratteristiche tecniche

Materiale INOX
Esecuzione M6
Zona Ex 2/22

Prodotto 306240 è stato aggiunto al blocco note.

Prodotto 306240 è stato aggiunto al carrello.

Apri Web-Shop

Dado esagonale

Dado per morsetti per conduttori cordati (MPE S 35 ER e MPE S 50/70 ER).

1 Prodotto

Art. 505901 SKM M6 DIN 934 V2A

GTIN (EAN) 4013364019355, Codice doganale (EU): 73181639, Peso lordo: 2.10 g, UM: 20.00 pz.


Immagini

Maggior informazioni

Vite M6 INOX
Fermo per vite M6
per impedire lo scioglimento o l'allentamento involontari
a causa delle vibrazioni (autobloccante)
per morsetto per conduttori cordati MPE S 35 ER e MPE S 50/70 ER
Materiale: INOX

Fabbricato: DEHN
Tipo: SKM M6 DIN 934 V2A
Art.: 505901
o similare.

Certificati

 

Caratteristiche tecniche

Materiale INOX
Esecuzione M6

Prodotto 505901 è stato aggiunto al blocco note.

Prodotto 505901 è stato aggiunto al carrello.

Apri Web-Shop

Grova

Grova per morsetti per conduttori cordati (MPE S 35 ER e MPE S 50/70 ER).

1 Prodotto

Art. 524906 FR A6 V2A

GTIN (EAN) 4013364004009, Codice doganale (EU): 73182100, Peso lordo: 1.00 g, UM: 20.00 pz.


Immagini

Maggior informazioni

Vite M6 INOX
Fermo per vite M6
per impedire lo scioglimento o l'allentamento involontari
a causa delle vibrazioni (autobloccante)
per morsetto per conduttori cordati MPE S 35 ER e MPE S 50/70 ER
Materiale: INOX

Fabbricato: DEHN
Tipo: FR A6 V2A
Art.: 524906
o similare.

Certificati

 

Caratteristiche tecniche

Materiale INOX
Esecuzione A6

Prodotto 524906 è stato aggiunto al blocco note.

Prodotto 524906 è stato aggiunto al carrello.

Apri Web-Shop

back to top