Ihre Services im Dashboard..
Registriert nutzen Sie das komplette Angebot.

Potentialausgleich an Kabeltragsystemen für Ex-Bereiche Zone 2/22

Das Potentialausgleichssystem wird an Kabeltragsystemen montiert und ermöglicht mit Potentialausgleichsplatten, -klemmen und einem geschlossenen Ringpotentialausgleichsleiter die Einbindung aller leitfähigen Anlagenteile und elektrischen Betriebsmittel in einen Ex-Potentialausgleich. Somit ist eine durchgängige Verbindung gewährleistet.

PA-Klemme für Kabelbahnen und PA-Platte

PA-Klemme (PAK) Kabelbahn

  • Anschluss nur mit Ringpotentialausgleichsleiter (Kupferseil verzinnt)
  • Befestigung an der seitlich gelochten Kabelbahn oder an der PA-Platte (PAP 1 / PAP 2)
  • PA-Klemme wird ca. alle 0,5 m montiert

6 Produkte

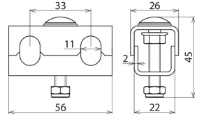
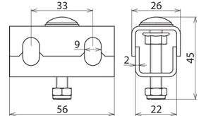
Art.-Nr. 306200 PAK 35 M8 EX KB ER

GTIN 4013364327368, Zolltarifnr. (EU): 85359000, Bruttogewicht: 113.40 g, VPE: 50.00 Stk.


Abbildungen

Weitere Information

Potentialausgleichsklemme für Kabeltragsyteme
Potentialausgleichsklemme für die Verlegung
eines Ringpotentialausgleichsleiter
für die Befestigung als Einzelklemme an der seitlich
gelochten Kabelbahn, Kabelrinne
oder Weitspannkabelbahn mit Lochungen
sowie für die Befestigung an der PA-Platte PAP1-EX-KB-ER
oder PAP2-EX-KB-ER
einsetzbar für Ex-Zone 2/22
Werkstoff: NIRO
Klemmbereich PA-Ringleiter: 35 mm², Cu/gal Sn
Werkstoff-Nr.: 1.4301
EX-Zone: 2/22

Fabrikat: DEHN
Typ: PAK 35 M8 EX KB ER
Art.-Nr.: 306200
oder gleichwertig.

Zertifikate

 

Technische Daten

Werkstoff NIRO
Anschluss an PAP 1 EX KB ER bzw. PAP 2 EX KB ER oder Kabelbahn bzw. Weitspannkabelbahn
Klemmbereich PA-Ringleiter 35 mm², Cu /gal Sn
Schraube M8 x 40 mm
Werkstoff Schraube / Mutter NIRO
Werkstoff-Nr. 1.4301
EX-Zone 2/22
Kurzschlusstrom AC (50 Hz / 5 s) 1,5 kA
Kurzschlusstrom DC (5 s) 250 A

Artikel 306200 wurde zum Merkzettel hinzugefügt.

Zum Merkzettel

Artikel 306200 wurde zum Warenkorb hinzugefügt.

Zum Warenkorb

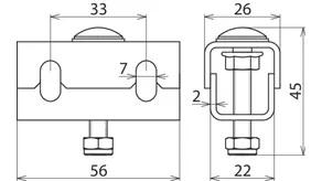
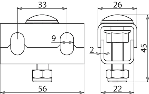
Art.-Nr. 306201 PAK 50 M8 EX KB ER

GTIN 4013364327375, Zolltarifnr. (EU): 85359000, Bruttogewicht: 128.80 g, VPE: 50.00 Stk.


Abbildungen

Weitere Information

Potentialausgleichsklemme für Kabeltragsyteme
Potentialausgleichsklemme für die Verlegung
eines Ringpotentialausgleichsleiter
für die Befestigung als Einzelklemme an der seitlich
gelochten Kabelbahn, Kabelrinne
oder Weitspannkabelbahn mit Lochungen
sowie für die Befestigung an der PA-Platte PAP1-EX-KB-ER
oder PAP2-EX-KB-ER
einsetzbar für Ex-Zone 2/22
Werkstoff: NIRO
Klemmbereich PA-Ringleiter: 50 mm², Cu/gal Sn
Werkstoff-Nr.: 1.4301
EX-Zone: 2/22

Fabrikat: DEHN
Typ: PAK 50 M8 EX KB ER
Art.-Nr.: 306201
oder gleichwertig.

Zertifikate

 

Technische Daten

Werkstoff NIRO
Anschluss an PAP 1 EX KB ER bzw. PAP 2 EX KB ER oder Kabelbahn bzw. Weitspannkabelbahn
Klemmbereich PA-Ringleiter 50 mm², Cu /gal Sn
Schraube M8 x 40 mm
Werkstoff Schraube / Mutter NIRO
Werkstoff-Nr. 1.4301
EX-Zone 2/22

Artikel 306201 wurde zum Merkzettel hinzugefügt.

Zum Merkzettel

Artikel 306201 wurde zum Warenkorb hinzugefügt.

Zum Warenkorb

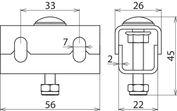
Art.-Nr. 306202 PAK 70 M8 EX KB ER

GTIN 4013364327351, Zolltarifnr. (EU): 85359000, Bruttogewicht: 110.00 g, VPE: 50.00 Stk.


Abbildungen

Weitere Information

Potentialausgleichsklemme für Kabeltragsyteme
Potentialausgleichsklemme für die Verlegung
eines Ringpotentialausgleichsleiter
für die Befestigung als Einzelklemme an der seitlich
gelochten Kabelbahn, Kabelrinne
oder Weitspannkabelbahn mit Lochungen
sowie für die Befestigung an der PA-Platte PAP1-EX-KB-ER
oder PAP2-EX-KB-ER
einsetzbar für Ex-Zone 2/22
Werkstoff: NIRO
Klemmbereich PA-Ringleiter: 70 mm², Cu/gal Sn
Werkstoff-Nr.: 1.4301
EX-Zone: 2/22

Fabrikat: DEHN
Typ: PAK 70 M8 EX KB ER
Art.-Nr.: 306202
oder gleichwertig.

Zertifikate

 

Technische Daten

Werkstoff NIRO
Anschluss an PAP 1 EX KB ER bzw. PAP 2 EX KB ER oder Kabelbahn bzw. Weitspannkabelbahn
Klemmbereich PA-Ringleiter 70 mm², Cu /gal Sn
Schraube M8 x 40 mm
Werkstoff Schraube / Mutter NIRO
Werkstoff-Nr. 1.4301
EX-Zone 2/22
Kurzschlusstrom AC (50 Hz / 5 s) 1,5 kA
Kurzschlusstrom DC (5 s) 250 A

Artikel 306202 wurde zum Merkzettel hinzugefügt.

Zum Merkzettel

Artikel 306202 wurde zum Warenkorb hinzugefügt.

Zum Warenkorb

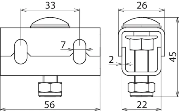
Art.-Nr. 306204 PAK 35 M6 EX KB ER

GTIN 4013364336766, Zolltarifnr. (EU): 85359000, Bruttogewicht: 98.20 g, VPE: 50.00 Stk.


Abbildungen

Weitere Information

Potentialausgleichsklemme für Kabeltragsyteme
Potentialausgleichsklemme für die Verlegung
eines Ringpotentialausgleichsleiter
für die Befestigung als Einzelklemme an der seitlich
gelochten Kabelbahn, Kabelrinne
oder Weitspannkabelbahn mit Lochungen
sowie für die Befestigung an der PA-Platte PAP1-EX-KB-ER
oder PAP2-EX-KB-ER
einsetzbar für Ex-Zone 2/22
Werkstoff: NIRO
Klemmbereich PA-Ringleiter: 35 mm², Cu/gal Sn
Werkstoff-Nr.: 1.4301
EX-Zone: 2/22

Fabrikat: DEHN
Typ: PAK 35 M6 EX KB ER
Art.-Nr.: 306204
oder gleichwertig.

Zertifikate

 

Technische Daten

Werkstoff NIRO
Anschluss an PAP 1 EX KB ER bzw. PAP 2 EX KB ER oder Kabelbahn bzw. Weitspannkabelbahn
Klemmbereich PA-Ringleiter 35 mm², Cu /gal Sn
Schraube M6 x 35 mm
Werkstoff Schraube / Mutter NIRO
Werkstoff-Nr. 1.4301
EX-Zone 2/22

Artikel 306204 wurde zum Merkzettel hinzugefügt.

Zum Merkzettel

Artikel 306204 wurde zum Warenkorb hinzugefügt.

Zum Warenkorb

Art.-Nr. 306205 PAK 50 M6 EX KB ER

GTIN 4013364336773, Zolltarifnr. (EU): 85359000, Bruttogewicht: 95.60 g, VPE: 50.00 Stk.


Abbildungen

Weitere Information

Potentialausgleichsklemme für Kabeltragsyteme
Potentialausgleichsklemme für die Verlegung
eines Ringpotentialausgleichsleiter
für die Befestigung als Einzelklemme an der seitlich
gelochten Kabelbahn, Kabelrinne
oder Weitspannkabelbahn mit Lochungen
sowie für die Befestigung an der PA-Platte PAP1-EX-KB-ER
oder PAP2-EX-KB-ER
einsetzbar für Ex-Zone 2/22
Werkstoff: NIRO
Klemmbereich PA-Ringleiter: 50 mm², Cu/gal Sn
Werkstoff-Nr.: 1.4301
EX-Zone: 2/22

Fabrikat: DEHN
Typ: PAK 50 M6 EX KB ER
Art.-Nr.: 306205
oder gleichwertig.

Zertifikate

 

Technische Daten

Werkstoff NIRO
Anschluss an PAP 1 EX KB ER bzw. PAP 2 EX KB ER oder Kabelbahn bzw. Weitspannkabelbahn
Klemmbereich PA-Ringleiter 50 mm², Cu /gal Sn
Schraube M6 x 35 mm
Werkstoff Schraube / Mutter NIRO
Werkstoff-Nr. 1.4301
EX-Zone 2/22

Artikel 306205 wurde zum Merkzettel hinzugefügt.

Zum Merkzettel

Artikel 306205 wurde zum Warenkorb hinzugefügt.

Zum Warenkorb

Art.-Nr. 306206 PAK 70 M6 EX KB ER

GTIN 4013364336780, Zolltarifnr. (EU): 85359000, Bruttogewicht: 94.20 g, VPE: 50.00 Stk.


Abbildungen

Weitere Information

Potentialausgleichsklemme für Kabeltragsyteme
Potentialausgleichsklemme für die Verlegung
eines Ringpotentialausgleichsleiter
für die Befestigung als Einzelklemme an der seitlich
gelochten Kabelbahn, Kabelrinne
oder Weitspannkabelbahn mit Lochungen
sowie für die Befestigung an der PA-Platte PAP1-EX-KB-ER
oder PAP2-EX-KB-ER
einsetzbar für Ex-Zone 2/22
Werkstoff: NIRO
Klemmbereich PA-Ringleiter: 70 mm², Cu/gal Sn
Werkstoff-Nr.: 1.4301
EX-Zone: 2/22

Fabrikat: DEHN
Typ: PAK 70 M6 EX KB ER
Art.-Nr.: 306206
oder gleichwertig.

Zertifikate

 

Technische Daten

Werkstoff NIRO
Anschluss an PAP 1 EX KB ER bzw. PAP 2 EX KB ER oder Kabelbahn bzw. Weitspannkabelbahn
Klemmbereich PA-Ringleiter 70 mm², Cu /gal Sn
Schraube M6 x 35 mm
Werkstoff Schraube / Mutter NIRO
Werkstoff-Nr. 1.4301
EX-Zone 2/22

Artikel 306206 wurde zum Merkzettel hinzugefügt.

Zum Merkzettel

Artikel 306206 wurde zum Warenkorb hinzugefügt.

Zum Warenkorb

PA-Klemme für Gitterbahnen

PA-Klemme (PAK) Gitterbahn

  • Anschluss nur mit Ringpotentialausgleichsleiter 35 mm2, Art.-Nr. 832 838 (Kupferseil verzinnt)
  • Befestigung an der Gitterbahn oder an der PA-Platte (PAP 1 / PAP 2)
  • PA-Klemme wird ca. alle 0,5 m montiert

1 Produkt

Art.-Nr. 306203 PAK 35 M8 EX GI ER

GTIN 4013364327382, Zolltarifnr. (EU): 85359000, Bruttogewicht: 128.80 g, VPE: 50.00 Stk.


Abbildungen

Weitere Information

Potentialausgleichsklemme für Kabeltragsyteme
Potentialausgleichsklemme für die Verlegung
eines Ringpotentialausgleichsleiter
für die Befestigung als Einzelklemme
seitlich an der Gitterbahn
sowie für die Befestigung an der PA-Platte PAP1-EX-GI-ER
oder PAP2-EX-GI-ER
einsetzbar für Ex-Zone 2/22
Werkstoff: NIRO
Klemmbereich PA-Ringleiter: 35 mm², Cu/gal Sn
Werkstoff-Nr.: 1.4301
EX-Zone: 2/22

Fabrikat: DEHN
Typ: PAK 35 M8 EX GI ER
Art.-Nr.: 306203
oder gleichwertig.

Zertifikate

 

Technische Daten

Werkstoff NIRO
Anschluss an PAP 1 EX GI ER bzw. PAP 2 EX GI ER oder Gitterbahn
Klemmbereich PA-Ringleiter 35 mm², Cu/gal Sn
Schraube M8 x 40 mm
Werkstoff Schraube / Mutter NIRO
Werkstoff-Nr. 1.4301
EX-Zone 2/22
Kurzschlusstrom AC (50 Hz / 5 s) 1,5 kA
Kurzschlusstrom DC (5 s) 250 A

Artikel 306203 wurde zum Merkzettel hinzugefügt.

Zum Merkzettel

Artikel 306203 wurde zum Warenkorb hinzugefügt.

Zum Warenkorb

PA-Platte für Kabelbahnen

PA-Platte (PAP) Kabelbahn

  • Aufnahme der PA-Klemme (PAK) für den Ringpotentialausgleichsleiter (Kupferseil verzinnt)
  • Befestigung an der seitlich gelochten Kabelbahn

2 Produkte

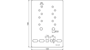
Art.-Nr. 306210 PAP 1 EX KB ER

GTIN 4013364327399, Zolltarifnr. (EU): 85359000, Bruttogewicht: 374.00 g, VPE: 15.00 Stk.


Abbildungen

Weitere Information

Potentialausgleichsplatte für Kabeltragsyteme
Potentialausgleichsplatte für den Anschluss
an der seitlich gelochten Kabelbahn, Kabelrinne
oder Weitspannkabelbahn mit Lochungen
zur Aufnahme der PA Klemme für Kabelbahnen (KB)
einsetzbar für Ex-Zone 2/22
Werkstoff: NIRO
Anschlussbohrungen für PA-Leiter mit Kabelschuh: 3x Ø11 mm, 3x Ø9 mm, Zugentlastung 3x Seilklemme M6
EX-Zone: 2/22

Fabrikat: DEHN
Typ: PAP 1 EX KB ER
Art.-Nr.: 306210
oder gleichwertig.

Zertifikate

 

Technische Daten

Werkstoff NIRO
Abmessung 120 x 180 mm
Anschlussbohrungen für PA-Leiter mit Kabelschuh 3x Ø11 mm, 3x Ø9 mm, Zugentlastung 3x Seilklemme M6
Anschlussmöglichkeiten für PA-Klemmen PAK ... EX KB ER
Befestigungsbohrungen für Kabelbahn [4x] 9 x 20 / [1x] 9 x 9 mm
EX-Zone 2/22
Kurzschlusstrom AC (50 Hz / 5 s) 1,5 kA
Kurzschlusstrom DC (5 s) 250 A

Artikel 306210 wurde zum Merkzettel hinzugefügt.

Zum Merkzettel

Artikel 306210 wurde zum Warenkorb hinzugefügt.

Zum Warenkorb

Art.-Nr. 306211 PAP 2 EX KB ER

GTIN 4013364327405, Zolltarifnr. (EU): 85359000, Bruttogewicht: 401.00 g, VPE: 15.00 Stk.


Abbildungen

Weitere Information

Potentialausgleichsplatte für Kabeltragsyteme
Potentialausgleichsplatte für den Anschluss
an der seitlich gelochten Kabelbahn, Kabelrinne
oder Weitspannkabelbahn mit Lochungen
zur Aufnahme der PA Klemme für Kabelbahnen (KB)
einsetzbar für Ex-Zone 2/22
Werkstoff: NIRO
Anschlussbohrungen für PA-Leiter mit Kabelschuh: 2x Ø11 mm, 12x Ø7 mm
EX-Zone: 2/22

Fabrikat: DEHN
Typ: PAP 2 EX KB ER
Art.-Nr.: 306211
oder gleichwertig.

Zertifikate

 

Technische Daten

Werkstoff NIRO
Abmessung 120 x 195 mm
Anschlussbohrungen für PA-Leiter mit Kabelschuh 2x Ø11 mm, 12x Ø7 mm
Anschlussmöglichkeiten für PA-Klemmen PAK ... EX KB ER
Befestigungsbohrungen für Kabelbahn [4x] 9 x 20 / [1x] 9 x 9 mm
EX-Zone 2/22
Kurzschlusstrom AC (50 Hz / 5 s) 1,5 kA
Kurzschlusstrom DC (5 s) 250 A

Artikel 306211 wurde zum Merkzettel hinzugefügt.

Zum Merkzettel

Artikel 306211 wurde zum Warenkorb hinzugefügt.

Zum Warenkorb

PA-Platte für Gitterbahnen

PA-Platte (PAP) Gitterbahn

  • Aufnahme der PA-Klemme (PAK) für den Ringpotentialausgleichsleiter (Kupferseil verzinnt)
  • Befestigung an der Gitterbahn

2 Produkte

Art.-Nr. 306212 PAP 1 EX GI ER

GTIN 4013364327412, Zolltarifnr. (EU): 85359000, Bruttogewicht: 384.00 g, VPE: 15.00 Stk.


Abbildungen

Weitere Information

Potentialausgleichsplatte für Kabeltragsyteme
Potentialausgleichsplatte für den Anschluss
an Gitterbahnen und
zur Aufnahme der PA Klemme für Gitterbahnen (GI)
einsetzbar für Ex-Zone 2/22
Werkstoff: NIRO
Anschlussbohrungen für PA-Leiter mit Kabelschuh: 3x Ø11 mm, 3x Ø9 mm, Zugentlastung 3x Seilklemme M6
EX-Zone: 2/22

Fabrikat: DEHN
Typ: PAP 1 EX GI ER
Art.-Nr.: 306212
oder gleichwertig.

Zertifikate

 

Technische Daten

Werkstoff NIRO
Abmessung 120 x 180 mm
Anschlussbohrungen für PA-Leiter mit Kabelschuh 3x Ø11 mm, 3x Ø9 mm, Zugentlastung 3x Seilklemme M6
Anschlussmöglichkeiten für PA-Klemmen PAK ... EX KB ER
Befestigungsbohrungen für Gitterbahn Gitterbahn [4x] 9 x 20 / [1x] 9 x 9 mm
EX-Zone 2/22
Kurzschlusstrom AC (50 Hz / 5 s) 1,5 kA
Kurzschlusstrom DC (5 s) 250 A

Artikel 306212 wurde zum Merkzettel hinzugefügt.

Zum Merkzettel

Artikel 306212 wurde zum Warenkorb hinzugefügt.

Zum Warenkorb

Art.-Nr. 306213 PAP 2 EX GI ER

GTIN 4013364327429, Zolltarifnr. (EU): 85359000, Bruttogewicht: 391.50 g, VPE: 15.00 Stk.


Abbildungen

Weitere Information

Potentialausgleichsplatte für Kabeltragsyteme
Potentialausgleichsplatte für den Anschluss
an Gitterbahnen und
zur Aufnahme der PA Klemme für Gitterbahnen (GI)
einsetzbar für Ex-Zone 2/22
Werkstoff: NIRO
Anschlussbohrungen für PA-Leiter mit Kabelschuh: 2x Ø11 mm, 12x Ø7 mm
EX-Zone: 2/22

Fabrikat: DEHN
Typ: PAP 2 EX GI ER
Art.-Nr.: 306213
oder gleichwertig.

Zertifikate

 

Technische Daten

Werkstoff NIRO
Abmessung 120 x 195 mm
Anschlussbohrungen für PA-Leiter mit Kabelschuh 2x Ø11 mm, 12x Ø7 mm
Anschlussmöglichkeiten für PA-Klemmen PAK ... EX KB ER
Befestigungsbohrungen für Gitterbahn [4x] 9 x 20 / [1x] 9 x 9 mm
EX-Zone 2/22
Kurzschlusstrom AC (50 Hz / 5 s) 1,5 kA
Kurzschlusstrom DC (5 s) 250 A

Artikel 306213 wurde zum Merkzettel hinzugefügt.

Zum Merkzettel

Artikel 306213 wurde zum Warenkorb hinzugefügt.

Zum Warenkorb

PA-Rohrschellen

PA-Rohrschelle (SBD 60 PAK 35)

  • Anschluss nur mit Ringpotentialausgleichsleiter 35 mm2, Art.-Nr. 832 838 (Kupferseil verzinnt)
  • Befestigung an Rundrohr DN50 (60 mm)
  • PA-Klemme wird ca. alle 0,5 m montiert

1 Produkt

Art.-Nr. 306220 SBD 60 PAK 35 EX ER

GTIN 4013364327436, Zolltarifnr. (EU): 85359000, Bruttogewicht: 408.00 g, VPE: 50.00 Stk.


Abbildungen

Weitere Information

Potentialausgleichsrohrschelle für Kabeltragsyteme
Potentialausgleichsrohrschelle
mit Klemme für die Verlegung
eines Ringpotentialausgleichsleiter
an Rundrohr DN50
einsetzbar für Ex-Zone 2/22
Werkstoff: NIRO
Klemmbereich PA-Ringleiter: 35 mm², Cu/gal Sn
EX-Zone: 2/22

Fabrikat: DEHN
Typ: SBD 60 PAK 35 EX ER
Art.-Nr.: 306220
oder gleichwertig.

Zertifikate

 

Technische Daten

Werkstoff NIRO
Abmessung Ø60 mm
Klemmbereich PA-Ringleiter 35 mm², Cu /gal Sn
EX-Zone 2/22

Artikel 306220 wurde zum Merkzettel hinzugefügt.

Zum Merkzettel

Artikel 306220 wurde zum Warenkorb hinzugefügt.

Zum Warenkorb

Seilklemme

Seilklemme als Zugentlastung bei der Verlegung von Kupferseil an der Potentialausgleichsplatte PAP1 EX KB ER bzw. PAP1 EX GI ER.

2 Produkte

Art.-Nr. 306230 MPE S 35 ER

GTIN 4013364327443, Zolltarifnr. (EU): 85359000, Bruttogewicht: 10.60 g, VPE: 10.00 Stk.


Abbildungen

Weitere Information

Seilklemme für Kabeltragsyteme
Seilklemme zur Zugentlastung
bei der Verlegung von
Kupferseilseil an der
Potentialausgleichsplatte
PAP1-EX-KB-ER bzw. PAP1-EX-GI-ER

Werkstoff: NIRO
Klemmbereich Kupferseil: 35 mm²
EX-Zone: 2/22

Fabrikat: DEHN
Typ: MPE S 35 ER
Art.-Nr.: 306230
oder gleichwertig.

Zertifikate

 

Technische Daten

Werkstoff NIRO
Anschluss an PAP1 EX KB ER bzw. PAP1 EX GI ER
Klemmbereich Kupferseil 35 mm²
EX-Zone 2/22

Artikel 306230 wurde zum Merkzettel hinzugefügt.

Zum Merkzettel

Artikel 306230 wurde zum Warenkorb hinzugefügt.

Zum Warenkorb

Art.-Nr. 306231 MPE S 50/70 ER

GTIN 4013364327450, Zolltarifnr. (EU): 85359000, Bruttogewicht: 12.40 g, VPE: 10.00 Stk.


Abbildungen

Weitere Information

Seilklemme für Kabeltragsyteme
Seilklemme zur Zugentlastung
bei der Verlegung von
Kupferseilseil an der
Potentialausgleichsplatte
PAP1-EX-KB-ER bzw. PAP1-EX-GI-ER
Werkstoff: NIRO
Klemmbereich Kupferseil: 50 bzw. 70 mm²
EX-Zone: 2/22

Fabrikat: DEHN
Typ: MPE S 50/70 ER
Art.-Nr.: 306231
oder gleichwertig.

Zertifikate

 

Technische Daten

Werkstoff NIRO
Anschluss an PAP1 EX KB ER bzw. PAP1 EX GI ER
Klemmbereich Kupferseil 50 bzw. 70 mm²
EX-Zone 2/22

Artikel 306231 wurde zum Merkzettel hinzugefügt.

Zum Merkzettel

Artikel 306231 wurde zum Warenkorb hinzugefügt.

Zum Warenkorb

Sicherungsmutter

Sicherungsmutter für Seilklemmen (MPE S 35 ER und MPE S 50/70 ER).

1 Produkt

Art.-Nr. 306240 SM SS M6 ER

GTIN 4013364327467, Zolltarifnr. (EU): 85359000, Bruttogewicht: 2.25 g, VPE: 20.00 Stk.


Abbildungen

Weitere Information

Schraube M6 NIRO
Schraubensicherung M6 gegen
unbeabsichtigtes Lösen oder Lockern
durch Vibrationen (Selbstsichernd)
für Seilklemme MPE S 35 ER bzw. MPE S 50/70 ER
Werkstoff: NIRO
EX-Zone: 2/22

Fabrikat: DEHN
Typ: SM SS M6 ER
Art.-Nr.: 306240
oder gleichwertig.

Zertifikate

 

Technische Daten

Werkstoff NIRO
Ausführung M6
EX-Zone 2/22

Artikel 306240 wurde zum Merkzettel hinzugefügt.

Zum Merkzettel

Artikel 306240 wurde zum Warenkorb hinzugefügt.

Zum Warenkorb

Sechskantmutter

Mutter für Seilklemmen (MPE S 35 ER und MPE S 50/70 ER).

1 Produkt

Art.-Nr. 505901 SKM M6 DIN 934 V2A

GTIN 4013364019355, Zolltarifnr. (EU): 73181639, Bruttogewicht: 2.10 g, VPE: 20.00 Stk.


Abbildungen

Weitere Information

Schraube M6 NIRO
Schraubensicherung M6 gegen
unbeabsichtigtes Lösen oder Lockern
durch Vibrationen (Selbstsichernd)
für Seilklemme MPE S 35 ER bzw. MPE S 50/70 ER
Werkstoff: NIRO

Fabrikat: DEHN
Typ: SKM M6 DIN 934 V2A
Art.-Nr.: 505901
oder gleichwertig.

Zertifikate

 

Technische Daten

Werkstoff NIRO
Ausführung M6

Artikel 505901 wurde zum Merkzettel hinzugefügt.

Zum Merkzettel

Artikel 505901 wurde zum Warenkorb hinzugefügt.

Zum Warenkorb

Federring

Federring für Seilklemmen (MPE S 35 ER und MPE S 50/70 ER).

1 Produkt

Art.-Nr. 524906 FR A6 V2A

GTIN 4013364004009, Zolltarifnr. (EU): 73182100, Bruttogewicht: 1.00 g, VPE: 20.00 Stk.


Abbildungen

Weitere Information

Schraube M6 NIRO
Schraubensicherung M6 gegen
unbeabsichtigtes Lösen oder Lockern
durch Vibrationen (Selbstsichernd)
für Seilklemme MPE S 35 ER bzw. MPE S 50/70 ER
Werkstoff: NIRO

Fabrikat: DEHN
Typ: FR A6 V2A
Art.-Nr.: 524906
oder gleichwertig.

Zertifikate

 

Technische Daten

Werkstoff NIRO
Ausführung A6

Artikel 524906 wurde zum Merkzettel hinzugefügt.

Zum Merkzettel

Artikel 524906 wurde zum Warenkorb hinzugefügt.

Zum Warenkorb

nach oben